
有位地震学专家曾说过:“杀人的不是地震,而是建筑。”
毕竟地震是天灾,无法避免,但建筑是人造的,它的抗震能力决定了在地震来临之时,会不会造成重大伤亡和经济财产损失。那么一座建筑物的抗震能力取决于什么呢?这里就不得不提一个重要指标——抗冲击剥离性能。

2008汶川地震后,行业内对建筑加固用结构胶的性能指标提出了更高的要求,在《建筑结构加固工程施工质量验收规范》GB50550-2010中提到:对抗震设防烈度为7度及7度以上的地区建筑加固用的粘钢胶和粘贴纤维复合材的结构胶粘剂,尚应进行抗冲击剥离能力的见证取样复验。

这项强制性指标是对结构胶粘剂质量较全面、科学、准确的检测及结构胶粘剂产品质量优劣鉴别的主要指标,不但要求胶粘剂具有较高的强度和良好的粘接性,还要求结构胶具备一定的韧性、良好的耐湿热老化能力。对于结构胶企业来说,该项指标不但对原材料的选用要求很高外,而且对结构胶的生产工艺、质量管控等具有同等高的要求。

如今国际公认最适合作为加固混凝土结构的胶粘剂是改性环氧树脂胶,尤其是对粘接纤维复合材和钢材而言,不论从抗剥离性能、耐环境作用性能、耐应力长期作用性能,还是抗冲击、抗疲劳性能来考察,都是其他品种胶粘剂所无法比拟的。然而,很多不良厂家为了改变结构胶的抗冲击剥离性能,添加了过多的填料,反而使得结构胶的粘结能力下降,从而导致抗冲击剥离开始下降。悍马结构胶主要成分为环氧树脂,较少的填料不仅保证了抗冲击剥离性能,更保证粘接能力的提高。

由于恶性的价格竞争愈演愈烈,导致了不少厂商纷纷更换胶粘剂原配方中抗老化性能较好的固化剂成分。尽管这类固化剂虽有可能做到不影响胶粘剂的短期粘结强度,甚至还有所提高,但却无法制止胶粘剂抗环境老化能力和抗冲击剥离能力的急剧下降。因此,地震区建筑加固,对所使用结构胶的韧性要求与检验,应进行合格评定。

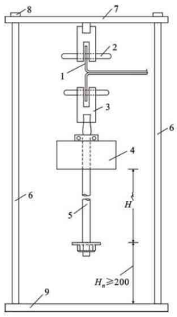
目前,对结构胶韧性的检测主要是采用自由落体式冲击剥离试验装置来实现的,以一对软钢薄片胶接成T形冲击剥离试样,在规定的条件下,对试样下端施加冲击力,使试样沿其胶接线产生剥离。韧性不同的结构胶粘剂,其剥离长度有明显差别,从中可判别出其韧性的优劣。

冲击剥离试验装置示意图
通过测量试样剥离长度以及对不同型号胶粘剂测试数据的比较分析,可制定出以剥离长度为指标的、简易、实用的结构胶粘剂韧性合格评定标准。
由于受到加固市场上利益驱使和恶性竞争影响,加固材料技术指标检测及加固材料产品质量优劣鉴别,以及加固施工过程及施工质量的控制等问题也非常突出,市场上出现大量的低劣加固材料,甚至相当数量的伪劣加固材料,部分加固工程因结构胶粘剂等材料使用不当,施工质量控制不严等因素,造成了一定的安全隐患。为此,在选购结构胶时一定要擦亮双眼,谨防上当受骗。

以悍马结构粘钢胶为例
上海悍马结构胶抗冲击剥离检测,如上图所示,试验表明悍马结构粘钢胶的钢对钢T冲击剥离长度为0,韧性远超A级胶要求,可以作为抗震加固材料放心使用。
最新产品
同类文章排行
- 检测报告上CMA、ILAC-MRA、CNAS、CAL四个标识的区别!
- 分不清转包、分包、内包、挂靠之间的区别?看这里!
- GB50210-2018《建筑装饰装修工程质量验收标准》已实施
- 房屋建筑学基础知识汇总
- 典型案例!国内外桥梁坍塌事故,太吓人了......
最新资讯文章
您的浏览历史








